
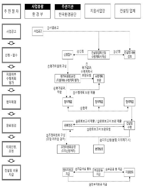
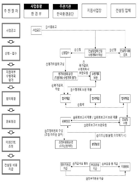
[중앙뉴스라인, 장성대기자] 환경부는 9월 14일부터 섬유염색업종의 통합허가 이행을 위한 지원사업을 본격적으로 착수한다.
환경부는 그간 섬유염색업계로부터 전문인력 부족, 허가대행비용 부담 등으로 통합허가 준비에 어려움이 크다는 건의*를 받아들여 한국환경공단과 함께 올해 하반기부터 섬유염색 사업장에게 허가 신청서류 작성 등에 소요되는 비용의 일부를 지원하는 등 제때 허가받도록 돕는다.
이번 지원사업은 섬유염색업종 사업장의 경우 철강, 화학 등 장치산업 성격의 통합관리사업장에 비해 규모가 작고, 최근 코로나19 장기화에 따른 수출 위축, 국내 수요 감소 및 원자재 가격 폭등 등 상대적으로 어려운 여건에 놓여 있는 점이 고려됐다.
이 사업의 지원대상은 ‘섬유제품 염색, 정리 및 마무리 가공업’에 속한 연간 매출액 80억 원 이하의 기업이며, 대기오염물질을 연간 20톤 이상 또는 폐수를 하루에 2,000톤 이상 배출하는 사업장이다.
올해 하반기 지원사업비는 총 10억 원이며, 사업장 1곳당 최대 2천만 원을 지원한다.
환경부와 한국환경공단은 지원사업의 자세한 내용을 안내하기 위해 9월 14일부터 이틀간 각각 경기도 안산시 반월산업단지, 대구광역시 대구염색산업단지에서 사업설명회를 개최하며, 9월 21일부터 사업공고 후 희망업체에 대해 신청을 받을 예정이다.
지원사업을 원하는 사업장은 10월 20일까지(사업공고일로부터 30일 이내) 통합허가 서류 작성 대행을 지원할 업체를 직접 선정하고, 신청서를 작성하여 한국환경공단 담당자 이메일로 제출하면 된다.
장기복 환경부 녹색환경정책관은 “통합허가 준비가 힘든 일부 업종의 어려움을 해소하기 위해 그간 한국환경공단 환경전문심사원을 중심으로 사전 진단(컨설팅)을 제공해왔으나, 올해 하반기부터는 직접 서류작성 비용 부담을 덜어주는 방식으로 지원을 한 단계 높이려고 한다”라면서, “내년에는 다른 업종의 더 많은 사업장에 혜택이 갈 수 있도록 지원사업을 확대하겠다”라고 밝혔다.